健康巡检页面,可以查看平台组件和集群组件的健康状况,并支持手动巡检。
可查看HTML的巡检报告,或者导出PDF的报告。
健康巡检的步骤如下。
1.以系统管理员角色登录平台。
2.在左侧导航栏选择控制台。
3.单击系统信息下的健康检查,进入健康巡检页面,可查看距离上次检查的时长。

在健康巡检页面,单击一键巡检,在弹框中自定义勾选所需巡检项。 默认勾选的巡检项包括主机信息、集群及节点、平台组件、集群组件和集群CIS合规检查,您可以去勾选已选择的巡检项,或自定义勾选内置镜像仓库扫描,选中后在下拉列表选项中选择域并可以选择项目,单击确认。
•平台版本
展示当前平台的版本。
•巡检结果统计
展示检测的项目总数、发现问题的数目,并在主机信息、集群及节点、平台组件、集群组件和集群CIS合规检查分类上展示异常数目。
•查看巡检报告
单击右上角的查看巡检报告,查看HTML的巡检结果。
•导出巡检报告
单击右上角的导出巡检报告,导出PDF格式巡检报告。
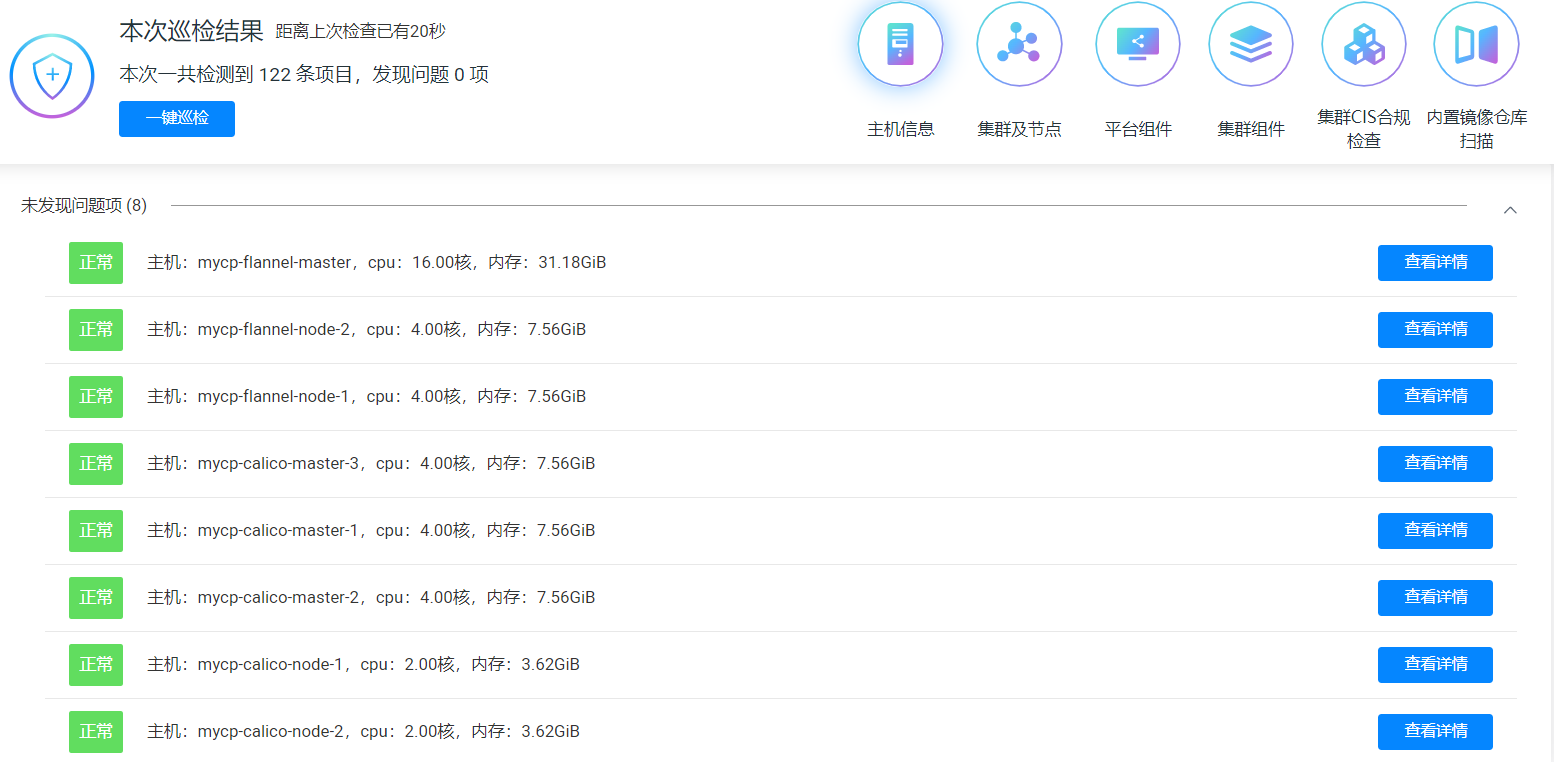
切换主机信息、集群及节点、平台组件、集群组件、集群CIS合规检查和内置镜像仓库扫描来查看平台和集群各组件健康状态,默认展示主机信息的巡检结果。
•主机信息
展示主机的巡检信息,可单击查看详情,查看某个主机的详细信息。
•集群及节点
展示集群的巡检信息,包含集群信息、节点信息、Pod信息和节点资源信息。
•平台组件
展示平台组件的巡检信息,包含系统服务组件、监控组件和DevOps信息。
•集群组件
展示不同集群的系统服务组件、日志组件、监控组件等集群组件的巡检信息。
•集群CIS合规检查
•内置镜像仓库扫描
在健康巡检页面,单击巡检计划,可配置巡检结果最多保存的历史记录条数和定时巡检,完成后单击确认。
参数 |
设置说明 |
|---|---|
输入最大保存历史数 |
巡检结果最多保存的历史记录条数。 |
启用定时巡检 |
默认启用定时巡检,开启定时巡检开关后,将按照指定时间进行健康巡检;关闭定时巡检开关,则该巡检计划仅用于设置巡检结果最大保存历史数。 |
触发时间选择 |
•指定执行时间:设置到指定的时间执行巡检检。 •每隔一段时间执行:每间隔多久执行一次巡检。 •每天定时执行:每天指定时间执行一次巡检。 •工作日定时执行:选择一个或多个工作日,设置对应工作日指定的时间执行一次巡检。 •自定义crontab规则:自定义Crontab规则来触发执行时间,该规则由五个时间字段和一个命令字段组成,每个字段之间由空格或制表符分隔。 |
自定义巡检 |
设置自定义巡检项,可自定义勾选主机信息、集群及节点、平台组件、集群组件、集群CIS合规检查或内置镜像仓库扫描巡检项。 |